HOME


フロントガラスワイパー
●フロントワイパーの使用について
1: ゴムの部分を定期的に洗ってください。

2: 水かきの部分は、破損または、
使い古した時には交換をしてください。
(交換時期:約1年後)

3: 気温が-0℃以下になったら、
水かきに氷が張っていないかどうか
碓認してもし必要な時には、水かきを外し
除氷させるための道具をお使いください。

4: フロントガラスが乾いている時は、
ワイパーを使わないでください。

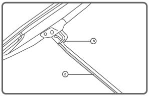
●フロントワイパーの交換について
1: フロントガラスアーム 'a' を持ち上げて、
アームと一緒に右の角度に回る位置にする。

2: タブ 'a' を押してアーム 'b' を引き抜きま す。

3: 新しい水かきを取付けアームのシートに
タブを入れてください。
ロックがされているか碓認をしてください。

ウォッシャーノズル
●フロントウォッシャー液を満たす
1:もし液のジェットがない時は、最初にタンクが一杯かどうか碓認をしてください。

2: 'a' の穴が詰まっていないか碓認をして
ください。

3: フロントガラスウォッシャーのノズルを
高い位置に直接噴射できるように向けてくだ
さい。
   

 

 
Copyrights (C) 2003-2005 Piaggio & I MPROVE. All rights reserved. Since 2003.10.25.